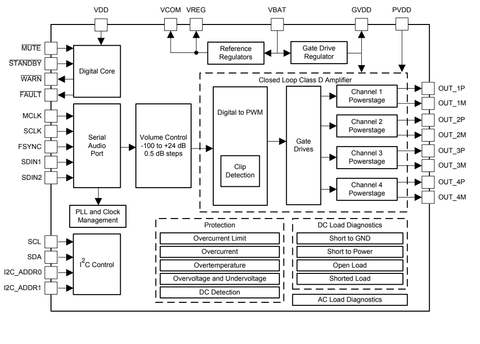
TAS6424M Q1 Amplificadores de Áudio Classe D automotivos da Texas Instruments
A Texas Instruments disponibiliza através da Mouser Electronics os amplificadores automotivos classe D com operação a partir de 4,5 V, faixa passante de 40 kHz e potência máxima de 45 W com 2 ohms.




