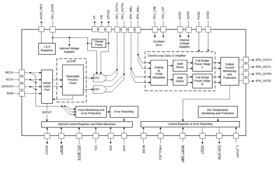
TAS3251 Amplificadores Digitales Clase D de Texas
Texas Instruments ofrece a través de Mouser Electronics los TAS3251 que consisten en amplificadores digitales de clase D Ultra-HD. Estos amplificadores pueden suministrar potencias de 2 x 220 W en carga de 2 ohms o 2 x 175 W en carga de 4 ohms.




