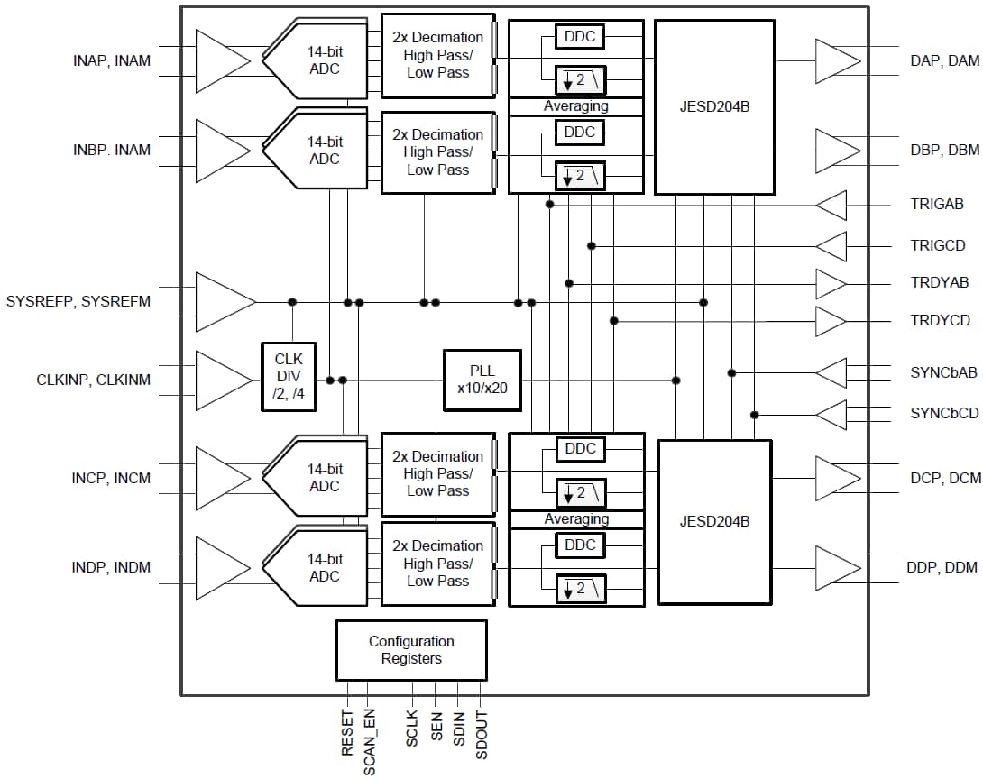
ADS54J64 ADC de Texas Instruments
Disponible en Mouser Electronics, el ADC ADS54J64 de Texas Instruments es un convertidor analógico digital de 14 bits con 4 canales y 1 GSPS. El componente tiene un buffer de entrada de alta impedancia y varias opciones de salida.




