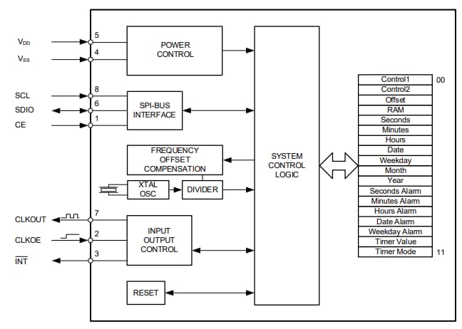
Los módulos de clock en tiempo real (RTC) Micro Crystal RV-8063-C8 incorporan un circuito CMOS integrado con un XTAL. Estos módulos SMD RTC también incorporan un registro de desplazamiento y compensan la desviación de frecuencia del reloj de 32,768 kHz. Los módulos RTC RV-8063-C8 transfieren todas las direcciones y datos en serie a través de una interfaz periférica en serie (bus SPI) con una velocidad de datos máxima de 7 Mbit/s. Estos módulos tienen reinicio de encendido interno (POR), función de detección de parada del oscilador y función de interrupción del temporizador de cuenta regresiva.




