Destacamos dos componentes importantes para el diseño de fuentes de alimentación de alto rendimiento. Hay dos LDO, los reguladores de caída de voltaje bajo de Maxim para corrientes de 500 mA y solo 11 uVrms de ruido. El artículo fue escrito en base a la hoja de datos, disponible en el enlace indicado.
Enlaces: https://br.mouser.com/new/maxim-integrated/maxim-max38912-regulators/ para comprar en Mouser Electronics y https://br.mouser.com/pdfDocs/MAX38911_MAX38912DS.pdf para obtener la hoja de datos.
Los circuitos integrados MAX38911 y MAX38912 consisten en reguladores de tensión de baja tensión y bajo ruido con una capacidad de suministro de corriente de 500 mA.
Los reguladores están completamente protegidos contra daños por un circuito interno programable para limitación de corriente y corriente inversa más protección térmica.
Los gabinetes vienen programados de fábrica con WLP y TDFN con una tensión predeterminada de 1.8V. Otros voltajes están disponibles en el enlace que se proporciona en la hoja de datos. La tensión de salida se puede ajustar entre 0,8 y 5,0 V utilizando dos resistencias de retroalimentación externas.
En la figura 1 tenemos un diagrama de aplicación.

Las aplicaciones incluyen teléfonos celulares, cámaras digitales, equipos que funcionan con baterías, aplicaciones portátiles con sensores, IoT y sensores de imagen y alta frecuencia.
La tabla de la hoja de datos proporciona los máximos absolutos.
En la hoja de datos puede encontrar tablas y gráficos con detalles de otras condiciones de operación, importantes para un proyecto.
En la figura 2, por ejemplo, tenemos un gráfico que muestra la corriente de reposo en función de la tensión de entrada.

La figura 3 muestra 3 circuitos de aplicación.

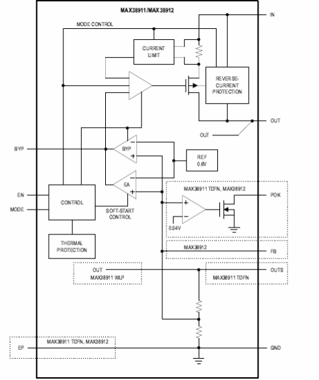
Finalmente, tenemos en la figura 4 el diagrama de bloques que muestra las funciones contenidas en este regulador de tensión.

La hoja de datos de 18 páginas completa los detalles del principio de funcionamiento de estos componentes.




