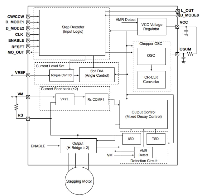
TB622x Drivers para motores de paso bipolar de Toshiba
Mouser Electronics tiene en stock los controladores para motores de paso bipolares TB622x de Toshiba con capacidad de excitación en 2 fases y 1-2 fases. Los controladores tienen capacidad de operación de 40 V con 1,8 A y baja resistencia en el paso de salida.




