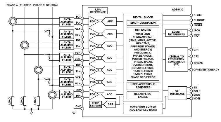
De Analog Devivces Inc. los circuitos integrados de monitoreo de calidad de energía ADE9430 son dispositivos de monitoreo de energía y calidad de energía polifásicos, altamente precisos y completamente integrados. El ADE9430 presenta un rendimiento analógico superior y un núcleo de procesamiento de señal digital (DSP) que permite un control preciso de la potencia en un amplio rango dinámico. Una referencia de alta calidad incorporada garantiza una baja desviación de temperatura con una desviación combinada de menos de ±25 ppm/°C como máximo para todo el canal. Esto incluye un amplificador de ganancia programable (PGA) y un convertidor de analógico a digital (ADC).




