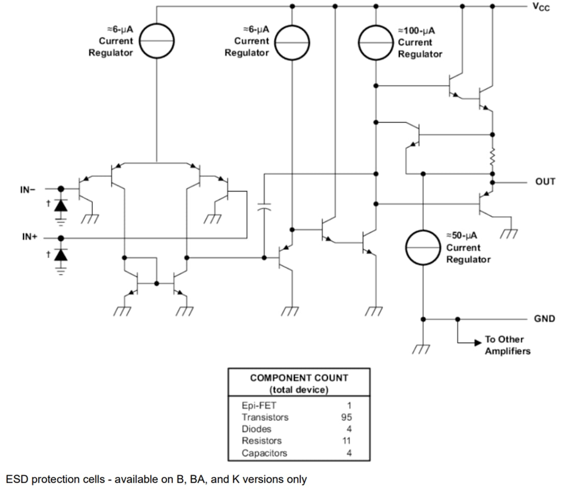
Los amplificadores operacionales cuádruples LMx24x/LM2902x de Texas Instruments son las versiones de próxima generación de los amplificadores operacionales estándar de la industria (amplificadores operacionales) LM324 y LM2902, que incluyen cuatro amplificadores operacionales de alta tensión (36 V). Estos dispositivos brindan un valor excepcional para aplicaciones sensibles al costo con características que incluyen baja compensación (600 µV típico), rango de entrada de modo común a tierra y alta capacidad de tensión de entrada diferencial.




