TPS92830 Q1 Controlador de LED de corriente constante Texas
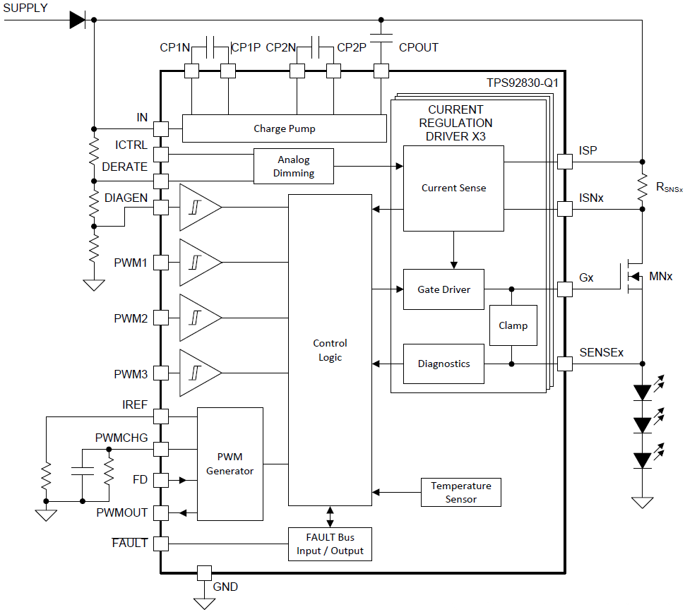
Texas Instruments vende a través de Mouser Electronics el TPS92830-Q1 un controlador de LED de corriente constante que integra diversas funciones y opera con un rango de tensiones de entrada de 4,5 a 40 V y tiene 3 canales High-Side para la percepción y la excitación . El dispositivo tiene dimmer analógico que tiene un rango de 20: 1 y una salida de sincronización.




