
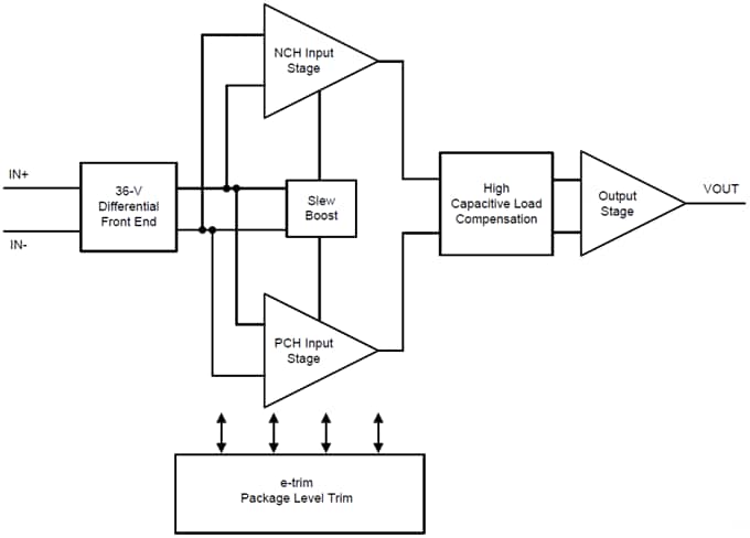
Se pueden encontrar en Mouser Electronics los amplificadores operacionales de bajo consumo OPAx196 de Texas Instruments. Estos amplificadores poseen una corriente quiescente de sólo 140 uA por canal 9tip.) Y pueden operar con tensiones de 4,6 a 36 V. El CMRR es de 140 dB.



