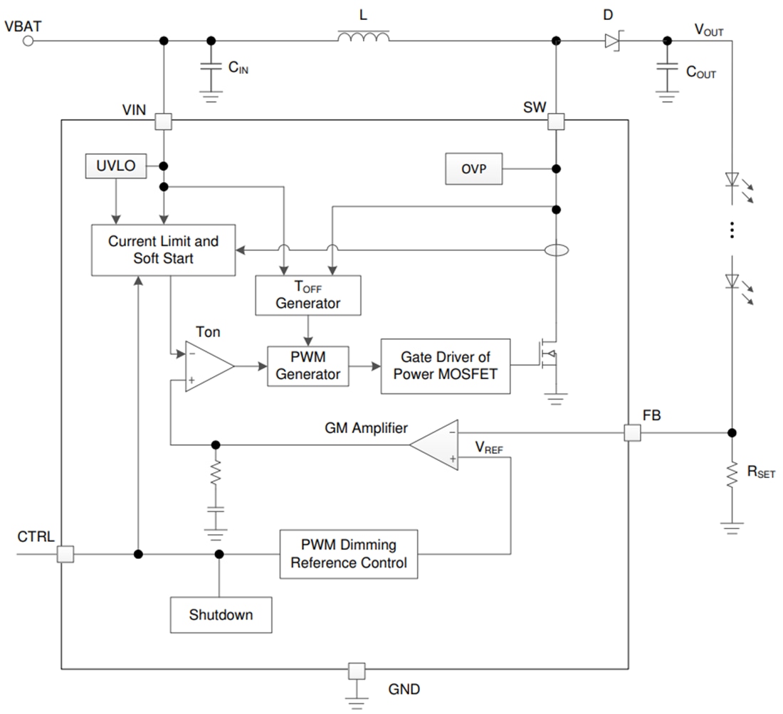
El controlador de retroiluminación LED TPS92360 de Texas Instruments viene con un FET de conmutación de 40 V integrado y es un convertidor elevador que impulsa los LED en serie. El convertidor elevador tiene un MOSFET interno de 40 V, 1.8 A con un límite de corriente mínimo de 1.2 A; por lo tanto, puede impulsar cadenas de LED simples o paralelas para paneles de retroiluminación de pequeños a grandes. La corriente del LED blanco estándar se establece con la resistencia del sensor externo, RSET, y la tensión de retroalimentación se establece en 204 mV. Durante el funcionamiento, la corriente del LED se puede controlar mediante una señal de modulación de ancho de pulso (PWM) aplicada al pin CTRL, a través del cual el ciclo de trabajo determina el voltaje de referencia de retroalimentación. El TPS92360 no genera ruido audible en el condensador de salida. Para una máxima protección, el dispositivo tiene una protección LED abierta integrada que desactiva el TPS92360 para evitar que el voltaje de salida exceda los valores nominales de voltaje máximo absoluto del dispositivo durante condiciones de LED abierto. El Texas Instruments TPS92360 está disponible en una carcasa SC70 de 5 pinos que ahorra espacio.




