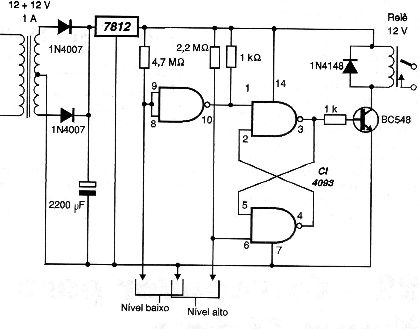
Este circuito es de una documentación de 2001 con el propósito de controlar una bomba que llena una caja de agua y apagar cuando está llena. Los sensores son hilos con las puntas descascadas colocadas en los niveles deseados (mínimo y máximo). El relé es de 12 V debiendo tener contactos de acuerdo con la corriente de la bomba.




