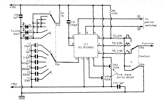
Este diagrama forma parte de un artículo de una revista europea de 1975. Si el circuito integrado puede ser encontrado, se trata de una excelente opción para el montaje de un generador de funciones hasta 1 MHz. El circuito produce señales senoidales, Triangulares y rectangulares de excelente calidad con buena intensidad. En los puntos A y B se conectan llaves que colocan en el circuito resistores de valores entre 10 k y 1 M para controlar el período. Los resistores tienen el otro polo conectado a la alimentación de 15 V. Una opción interesante es conectar dos potenciómetros de 1M, uno en A y otro en B, con los extremos en el positivo de la fuente.




