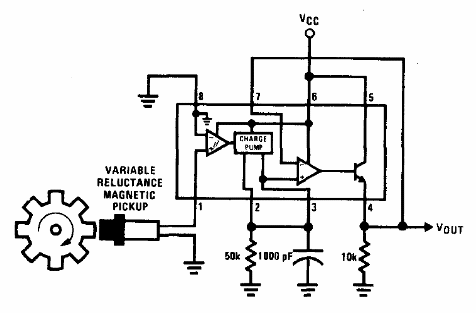
El circuito integrado utilizado en esta aplicación es el LM2907 de National Semiconductor, de onda se ha obtenido la configuración. La documentación es de 1978 y el sensor es de renuencia variable. La salida del circuito consiste en pulsos rectangulares que se pueden utilizar para aplicaciones TTL.




