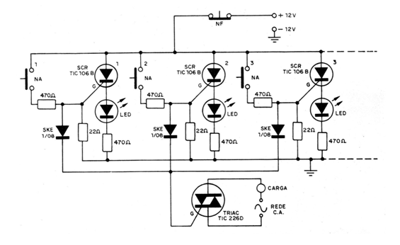
El proyecto que presentamos a continuación es muy interesante sirviendo para identificar llamadas remotas como en habitaciones de hospital, escuelas de oficina o industrias. El proyecto, mostrado en la figura, tiene un número ilimitado de canales que se ha encontrado en una documentación de 1982. Su funcionamiento es el siguiente: en cada lugar remoto (cuarto de hospital, por ejemplo) se coloca un interruptor de presión que va conectado a un módulo de disparo que lleva por elemento básico un SCR TIC106-B. Cuando uno de los interruptores de presión es accionado, el SCR correspondiente dispara haciendo encender el LED indicador de la habitación o local de donde procede la llamada. Al mismo tiempo un Triac que se conecta a una campana o un cigarrillo también se dispara haciendo la llamada sonora. Al contestar el llamado, se debe presionar el interruptor de presión del tipo normalmente cerrado (NF) para apagar el módulo de disparo y, por lo tanto, reactivar el sistema. Si otros interruptores se accionan al mismo tiempo, aún así tendremos el disparo del SCR correspondiente con el encendido de otros LED en el panel indicativo. Una característica importante de este circuito es su operación con baja tensión en el sector de los SCRs lo que significa que en casos de hospitales utilizando para el Triac un SCR en su lugar y una cigarra de corriente continua se puede tener la alimentación por batería totalmente. El sistema puede funcionar normalmente incluso en caso de falta de energía en la red local. Los valores de los componentes son todos dados en el propio circuito.




