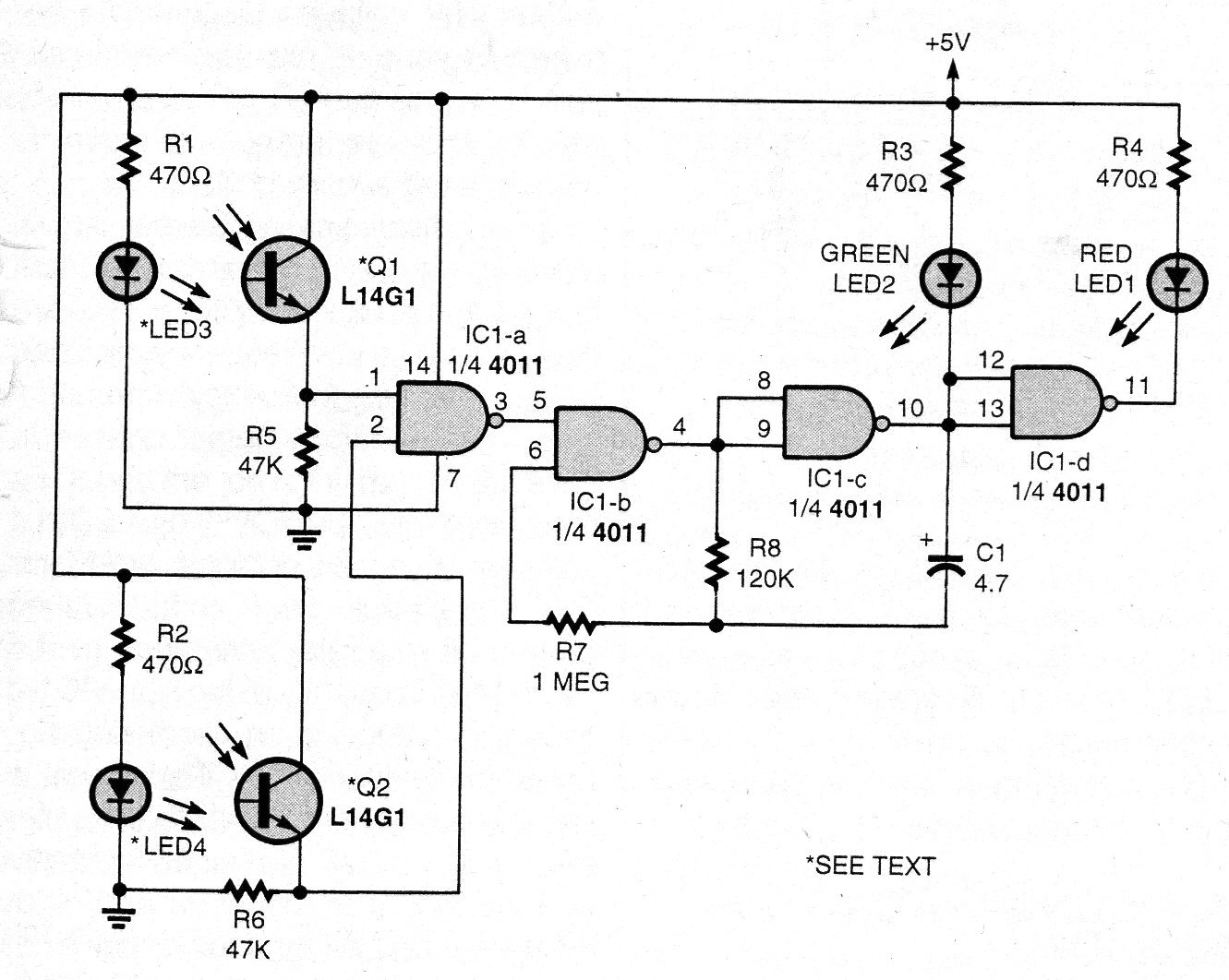
Este circuito utiliza dos sensores que se colocan en el cruce de un ferrocarril en miniatura, haciendo que dos LED parpadeen alternativamente en el paso de la composición. El circuito utiliza foto-transistores comunes como sensores. Encontramos esta configuración en una publicación americana de 1998.
Señal de Cruzamiento para Modelismo Ferroviario (CIR1989S )
Este circuito utiliza dos sensores que se colocan en el cruce de un ferrocarril en miniatura, haciendo que dos LED parpadeen alternativamente en el paso de la composición. El circuito utiliza foto-transistores comunes como sensores. Encontramos esta configuración en una publicación americana de 1998.




