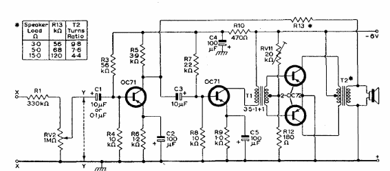
Este circuito es del manual de referencia de transistores de la Mullard de 1960. Los transformadores controlador y salida son los elementos críticos del proyecto. Esta configuración era común en la salida de radios de la época.

Este circuito es del manual de referencia de transistores de la Mullard de 1960. Los transformadores controlador y salida son los elementos críticos del proyecto. Esta configuración era común en la salida de radios de la época.
