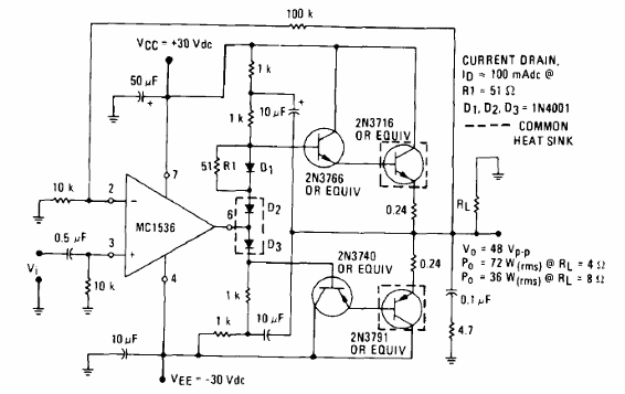
Este circuito es del Linear Databook de Motorola de 1990. Los transistores admiten equivalentes y la potencia de salida depende de la tensión de alimentación. La fuente de alimentación debe ser simétrica de 30 V.

Este circuito es del Linear Databook de Motorola de 1990. Los transistores admiten equivalentes y la potencia de salida depende de la tensión de alimentación. La fuente de alimentación debe ser simétrica de 30 V.
