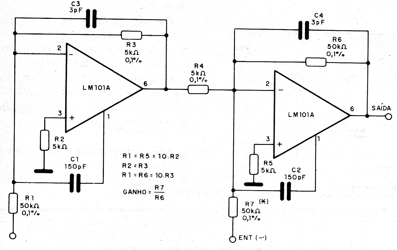
La ganancia de este amplificador es dada por los componentes indicados en las fórmulas junto al diagrama. La fuente de alimentación debe ser simétrica y los amplificadores operacionales equivalentes se pueden utilizar.
Cuando un pulso de luz incide en el LDR, este circuito dispara un temporizador monoestable 555 que acciona...
La frecuencia de los intermitentes del LED depende de la cantidad de luz que incide en el LDR. Con más...
Juguetes interesantes se pueden hacer con motores y circuitos electrónicos. Un ejemplo de ello...