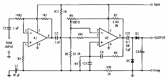
Este filtro decodificador fue encontrado en una documentación de 1975. Los circuitos integrados pueden ser los 741. El circuito se utiliza con teléfonos que deben ser alimentados por una fuente simétrica. C3, C4, R8 y R9 determinan la frecuencia a ser reconocida.




