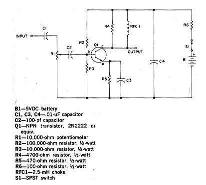
En circuito presentado puede amplificar señales de audio o RF de hasta unas decenas de megahertz. El circuito es de baja potencia sirviendo normalmente como preamplificador de antena, de audio y en otras aplicaciones. El consumo es muy bajo y RFC1 se utiliza sólo en el caso de la operación con señales de RF (por encima de 1 MHz). R1 funciona como un control de sensibilidad o volumen.




