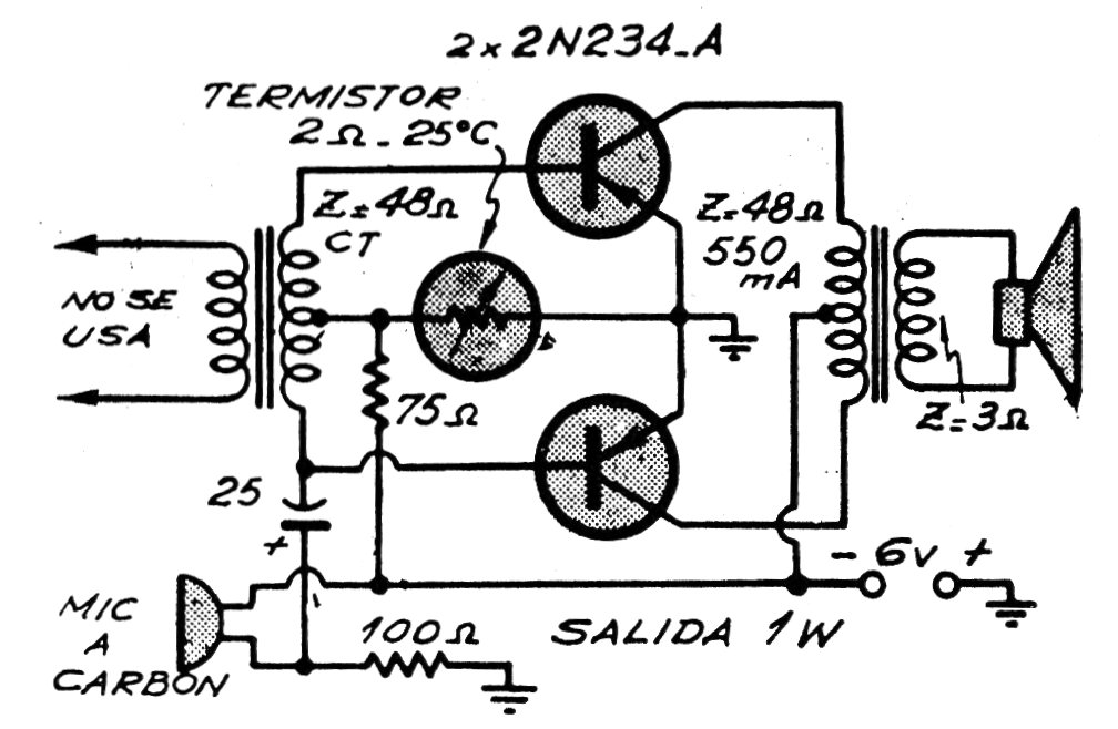
He encontrado este circuito en una antigua publicación argentina de 1973. Los componentes ya no se encuentran con facilidad, pues los transistores son de germanio. Sin embargo, el circuito puede ser cambiado a transistores de silicio quedando como componentes críticos los transformadores. El circuito debe utilizar obligatoriamente el micrófono de carbón y la alimentación debe venir de pilas grandes o baterías. El altavoz debe ser de alto rendimiento. Los valores de los componentes pueden ser aproximados a los estandarizados actuales. El circuito sirve más como referencia para una restauración de equipo.

 


| Haga click en la imagen para ampliar |