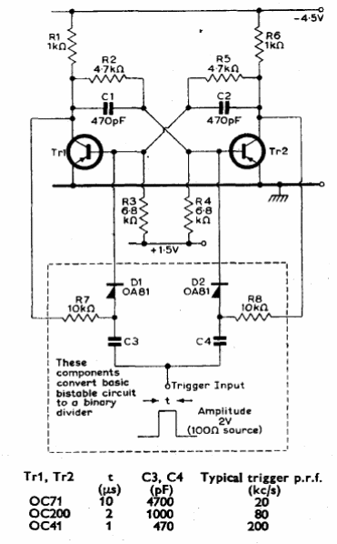
Encontramos este circuito en el manual de transistores de la Mullard de1960. El circuito puede ser elaborado con transistores más modernos y pequeños cambios de los resistores.

Encontramos este circuito en el manual de transistores de la Mullard de1960. El circuito puede ser elaborado con transistores más modernos y pequeños cambios de los resistores.
