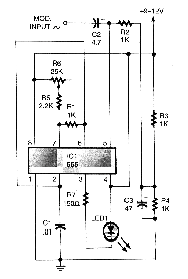
En la figura siguiente tenemos un circuito sugerido por un Poptronics del año 2000. La revista ya no existe pero el circuito es actual y muy importante. En él se muestra cómo es posible modular la señal de un 555 cuya frecuencia depende de C1, R1 y se ajusta en R6.De cierto, este R6 puede tener valores hasta 100 k ohms y C1 cambiado en una amplia gama de valores. El circuito también funcionará con tensiones a partir de 5 V. Podemos utilizar este circuito en un enlace de audio haciendo el circuito oscilar en alta frecuencia y desmodulando en un NE567.




