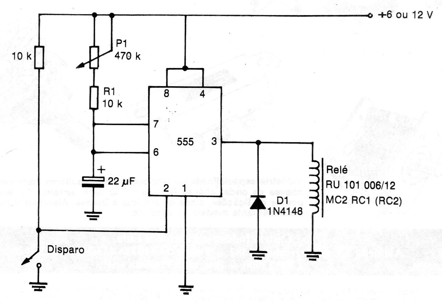
Este circuito básico es de una documentación de 1984. Este circuito puede ser utilizado como una eficiente alarma contra robos, bastando para ello elegir apropiadamente el sensor usado. El comportamiento del circuito puede ser analizado de la siguiente manera: cuando la entrada del monoestable (pin 2) es puesta a tierra momentáneamente por el interruptor utilizado como sensor, la salida del integrado (pin 3) se lleva al nivel HI, que corresponde a la presencia de una tensión del mismo orden que la tensión de alimentación; esta tensión es insuficiente para activar el relé, que puede entonces alimentar un circuito potente de alarma. El tiempo de activación será dado por el ajuste de P1 y por el valor de C1, pudiendo quedarse entre algunos segundos y hasta más de media hora. Para una alimentación de 6 V el relé usado puede ser el RU 101 006 o MC2 RC1, mientras que para alimentación de 12 V el relé usado puede ser el MC2 RC2 o RU 101 012. Los contactos de los relés soportan corrientes elevadas pero deben ser respetados límites.




