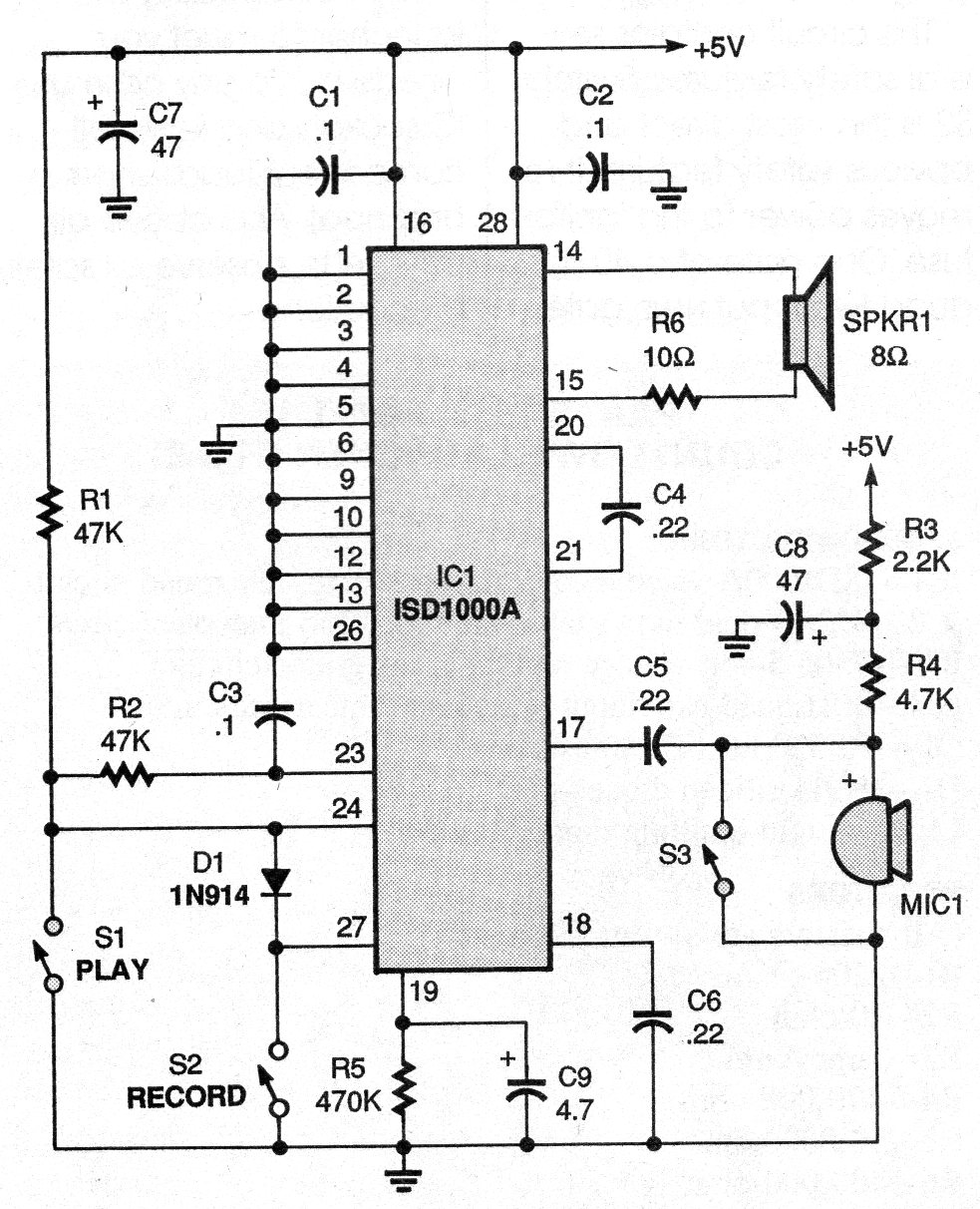
Frases, cuentas regresivas u otras secuencias cortas se pueden grabar en esta grabadora digital. El circuito es la configuración tradicional y con otros integrados de la serie grabaciones largas se pueden hacer.
La configuración más simple de oscilador con amplificador operacional y que tanto puede generar...
Los sonidos espaciales de tiros de pistolas de rayos láser o similares, que oímos en películas como...
El circuito que se muestra a continuación muestra una aplicación lineal del FET de potencia, donde...