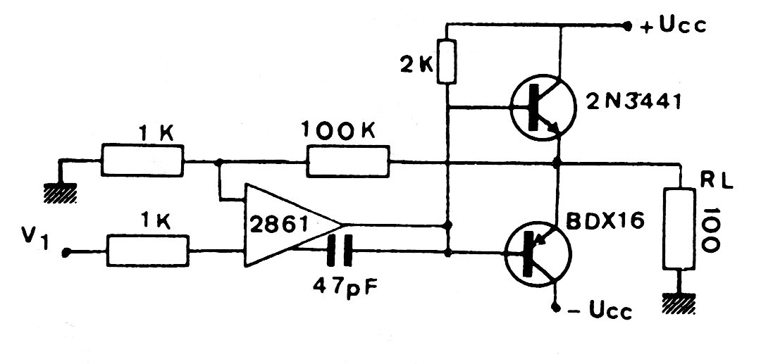
Este circuito de amplificador operacional con salida de potencia usando transistores complementarios fue encontrado en una publicación europea de los años 80. Los transistores pueden ser equivalentes modernos como los BD135 y BD136 y el operacional también admite equivalentes. La fuente debe ser simétrica y depende del funcionamiento y de la aplicación.




