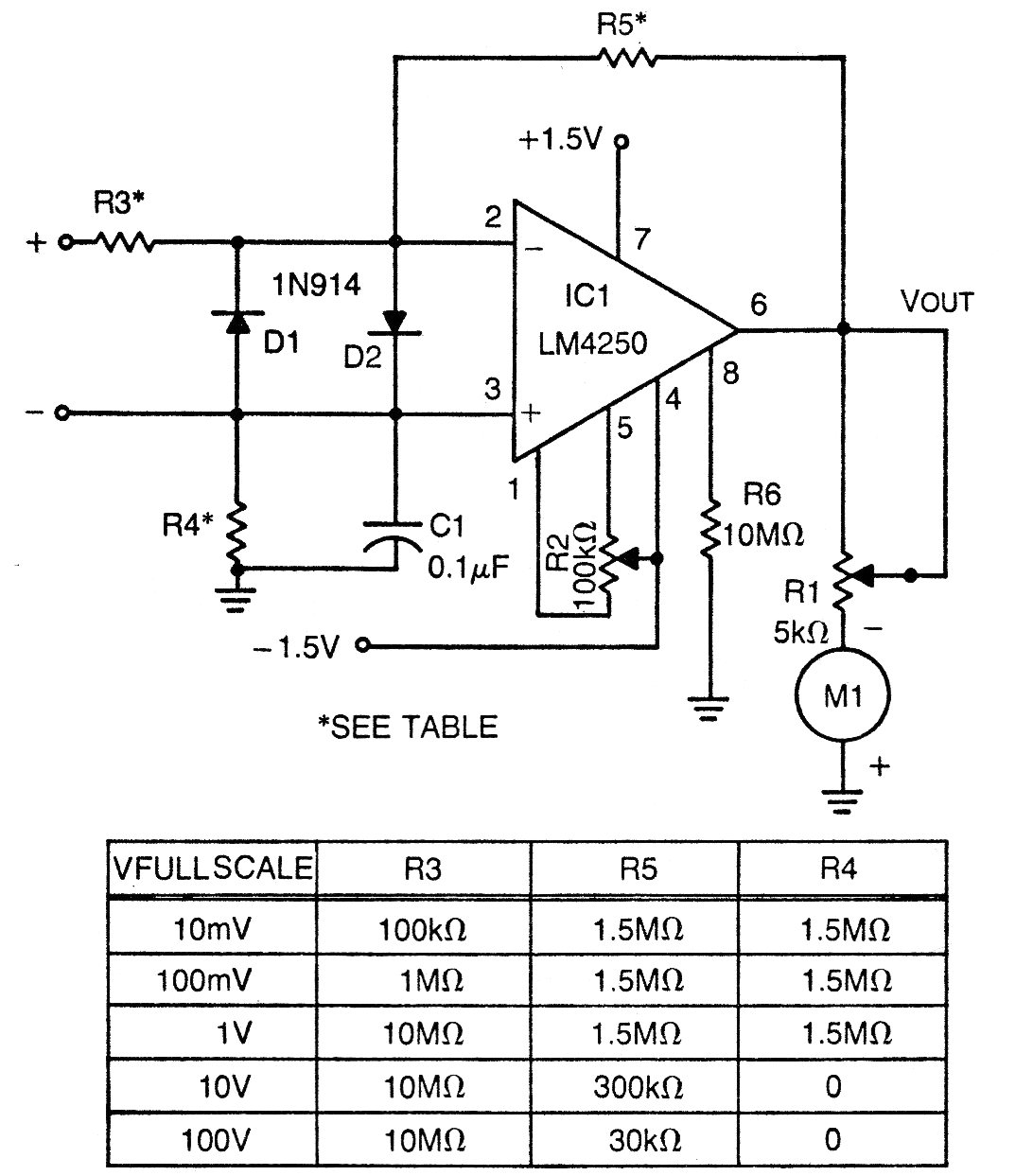
El amplificador operacional utilizado en este circuito de una documentación de los años 70 ya no es más fácil de obtener. Podemos, sin embargo, montar el circuito con un funcionamiento más moderno como el 741. El circuito mide tensiones en 5 bandas, dependiendo de los componentes. Una llave selectora puede ser agregada al circuito para hacer la selección de los componentes, conforme la tabla dada junto al diagrama. La fuente de alimentación, para amplificadores como el 741 debe ser simétrica con tensiones entre 6 y 12 V. Se pueden utilizar amplificadores operacionales que operen con tensiones más bajas. La instrucción es un miliamperímetro de 0-1 mA.
Milivoltímetro con Operacional (CIR5101S)
El amplificador operacional utilizado en este circuito de una documentación de los años 70 ya no es más fácil de obtener. Podemos, sin embargo, montar el circuito con un funcionamiento más moderno como el 741. El circuito mide tensiones en 5 bandas, dependiendo de los componentes. Una llave selectora puede ser agregada al circuito para hacer la selección de los componentes, conforme la tabla dada junto al diagrama. La fuente de alimentación, para amplificadores como el 741 debe ser simétrica con tensiones entre 6 y 12 V. Se pueden utilizar amplificadores operacionales que operen con tensiones más bajas. La instrucción es un miliamperímetro de 0-1 mA.




