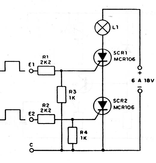
La lámpara L1 se encenderá cuando los pulsos de disparo estén simultáneamente presentes en E1 y E2. La lámpara debe tener tensión de operación 4V menor que la tensión de alimentación, ya que cada SCR es responsable por una caída del orden de 2V. Para la configuración, los pulsos deben tener una amplitud mínima de 1V y máxima de 20V.

Detector de Coincidencia de Pulsos



