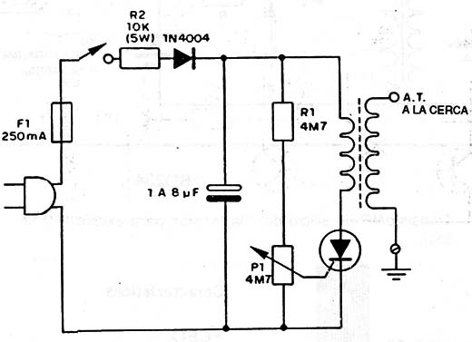
Este electrificador usa como bobina de alta tensión un fIy-back, garantizando así el aislamiento de la red. El primario consiste en 20 a 40 vueltas de alambre común en la parte inferior del fly-back. El SCR debe ser el MCR106 para 4ooV, y para mejorar el, disparo se puede intercalar una lámpara neón entre la compuerta (gate) y el cursor del potenciômetro. La intensidad de la descarga se puede alterar por la sustitución del electrolítico. La tensión de trabajo de este capacitor debe ser de 250V en la red de 110V y 400V en la red de 220V. Para 220V aumente R2 a 22k.




