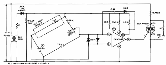
El circuito presentado apareció en un manual de circuitos integrados lineales de la RCA de 1972. Sin embargo, puede ser desarrollado a partir de componentes equivalentes más modernos como, por ejemplo, el amplificador y el triac que puede ser cualquiera de la serie TIC. El sensor consiste en un termistor cuyo valor en la temperatura desea determinar los valores de los demás componentes del puente.




