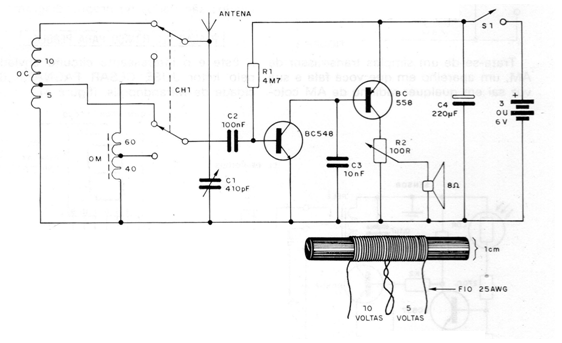
Este circuito en un receptor que permite la captura de estaciones distantes de ondas cortas. La modificación con respecto a un receptor de 1 banda consiste en añadir una llave de 2 polos x 2 posiciones y una bobina. Esta bobina se enrolla a la banda de onda corta con las siguientes características que se muestran en la figura: se enrollan 15 espiras de hilo 25 con toma en la quinta espira. Esta bobina se realiza en una forma de aproximadamente 1 cm de diámetro sin necesidad de núcleo de ferrita. En la conexión al circuito, desde la toma hasta la conexión al negativo común de la alimentación deben quedar las 5 espiras. Para buenos resultados se debe utilizar una antena larga.




