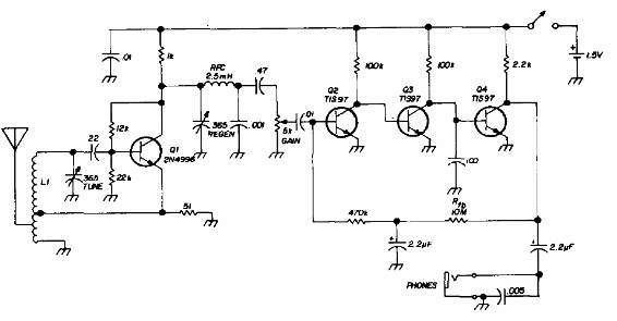
Este circuito, que recibe señales de las bandas de 40 y 80 metros entre 4 y 15 MHz, fue encontrado en una publicación para radioaficionados de 1973. El transistor Q1 puede ser el BF494 o 2N2222 y los demás BC548. El receptor tiene escucha en auriculares piezoeléctricos o de cristal. La bobina tiene 30 espiras de hilo 28 en forma de 1 cm con toma en la 8ª espiras desde el lado de tierra.




