Este circuito divide la frecuencia de los pulsos TTL aplicados a la entrada por un valor programado en binario por las llaves de A a D. La frecuencia máxima de división es del orden de 20 MHz, pero las subfamilia TTL más rápidas pueden ser usadas. La salida de la señal se realiza en los pines 2 y 3 del 7490. La alimentación debe realizarse con tensión de 5 V.

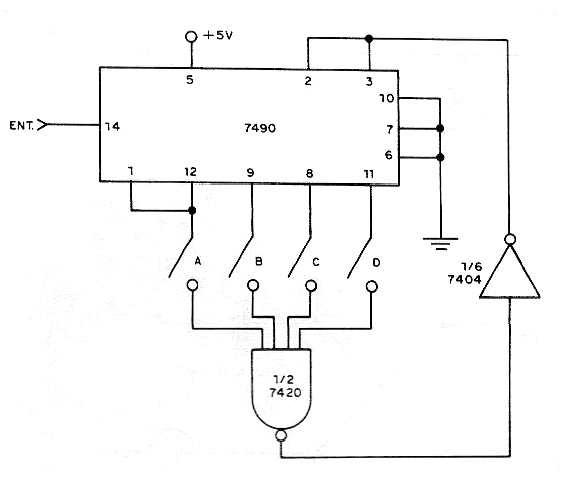
Divisor programable de frecuencias de 0 a 9 TTL (CIR4800S)
Este circuito divide la frecuencia de los pulsos TTL aplicados a la entrada por un valor programado en binario por las llaves de A a D. La frecuencia máxima de división es del orden de 20 MHz, pero las subfamilia TTL más rápidas pueden ser usadas. La salida de la señal se realiza en los pines 2 y 3 del 7490. La alimentación debe realizarse con tensión de 5 V.




