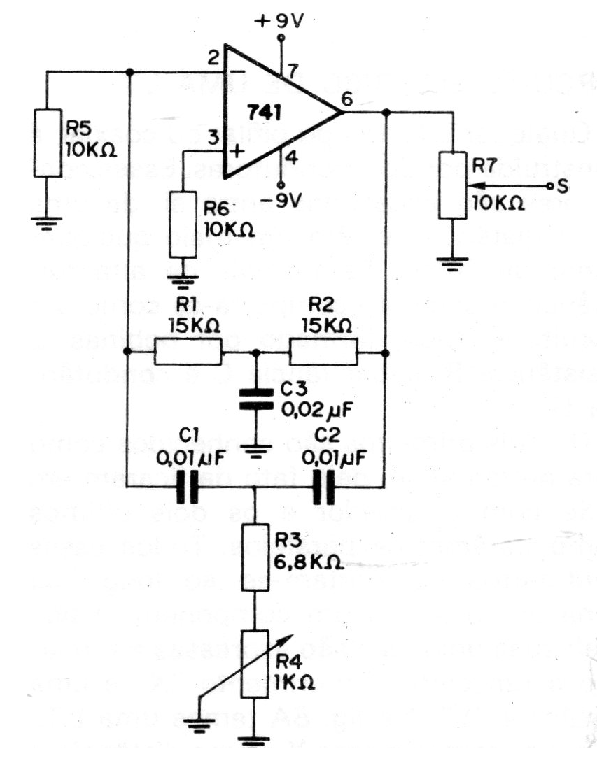
Esta es una de las muchas versiones de oscilador de doble T que el lector puede encontrar en este sitio utilizando amplificadores operacionales. El circuito proporciona señales senoidales y tiene un control de intensidad en su salida. R4 controla el punto de oscilación. La fuente debe ser simétrica de 6 a 12 V.




