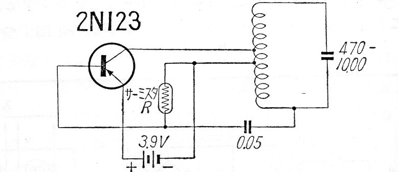
Encontramos este circuito en una publicación japonesa de los años 60. La frecuencia depende de la bobina que para la banda de audio puede tener 200 espiras de cable 32 en un bastón de ferrita. El sensor es un LDR y los transistores equivalentes se pueden emplear.




