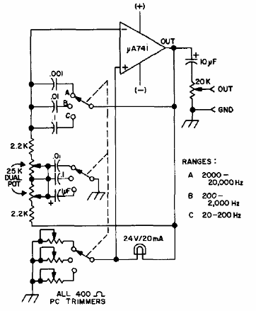
Encontramos este circuito en una documentación técnica americana de 1974. El circuito puede generar señales en tres bandas de frecuencias y su alimentación debe ser simétrica con tensiones de 6 a 12 V. La lámpara estabilizadora es el elemento crítico del proyecto.




