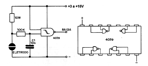
Este circuito, que consiste en dos placas, provoca la salida del interruptor do circuito conmute. El capacitor tiene por función evitar el repique y su valor se puede cambiar y si es necesario. El circuito no debe ser alimentado por fuente sin transformador. Las otras puertas de 4093 pueden ser utilizadas para otros fines, ya que son independientes. La resistencia de 10 M determina la sensibilidad al tacto y puede ser cambiado. No utilice cables largos hasta el sensor.




