Esta configuración, que aparece en otros puntos de este sitio, fue encontrada en una documentación de los años 80. El circuito puede ser implementado con transistores equivalentes, como los BC548, y la frecuencia depende de los capacitores usados. La alimentación se puede cambiar en un rango de valores.
Multivibrador Astable Mejorado (CIR5965S)
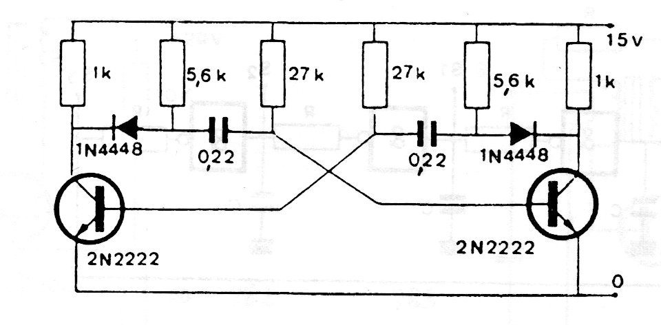
Esta configuración, que aparece en otros puntos de este sitio, fue encontrada en una documentación de los años 80. El circuito puede ser implementado con transistores equivalentes, como los BC548, y la frecuencia depende de los capacitores usados. La alimentación se puede cambiar en un rango de valores.




