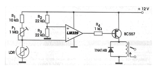
En la figura tenemos una aplicación de un comparador de tensión en un circuito que dispara con el sensor (LDR) deja de recibir luz. P1 ajusta el punto de disparo. El relé es del tipo sensible con una corriente máxima de 50 mA, pudiendo también excitarse directamente otro tipo de carga, como solenoides y pequeños motores. Para cargas de mayor corriente se puede utilizar un Darlington de potencia PNP. Para excitar el circuito con luz, basta invertir las posiciones de P1/R1 y del sensor.




