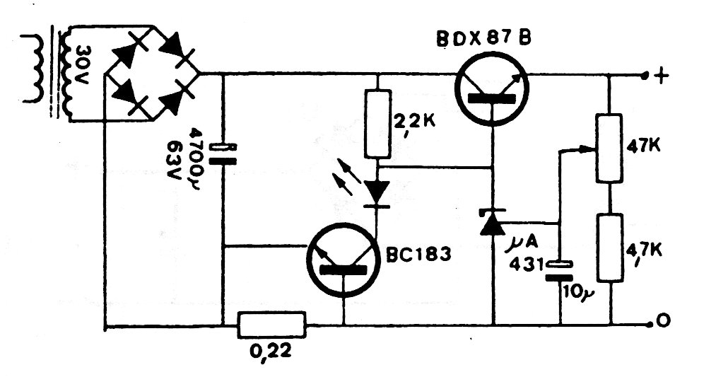
El circuito integrado de referencia de tensión utilizado en esta fuente de los años 80 es difícil de encontrar actualmente. El transistor de potencia puede ser un TIP41 en buen disipador de calor y el transformador tiene 2 A de secundario con diodos para la misma corriente.




