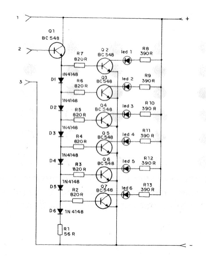
Este circuito básico se puede utilizar en diversos tipos de aplicaciones como termómetros, VU-meter, sensores de presión, voltímetros y mucho más. El número de LED se determina por la tensión de alimentación que puede quedar entre 9 y 15 V típicamente.




