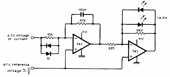
Este circuito fue obtenido en una documentación de 1974. Sirve para indicar la sintonía de estaciones en un receptor común, siendo conectado al control automático de frecuencia del receptor. La tensión de alimentación de 6 a 12 V es la del circuito receptor. Las aplicaciones pueden ser indicadas como en receptores de FM y VHF.




