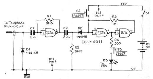
Este circuito se obtuvo en una revista americana de agosto de 1985. La revista ya no existe, pero el circuito es viable por los componentes que utiliza. La alimentación se realiza con una batería de 9 V y el circuito monitorea cuando el teléfono se ha utilizado, encendiendo un LED. Para resetar se aprieta S2 por un momento. El circuito utiliza una bobina captadora que debe colocarse de forma que pueda recibir las señales del teléfono.




