En un artículo sobre biofeedback la revista Practical Electronics de mayo de 1987 describe este circuito que, a través de un termistor monitorea variaciones de la temperatura de la piel. Este circuito convierte pequeñas variaciones de la temperatura de la piel en variaciones de frecuencia o tono de la señal generada por el oscilador y aplicada a un pequeño amplificador externo o incluso transductor. El circuito se alimenta con una batería de 9 V o una fuente. El regulador de voltaje IC2 es un 78L06 la versión de baja corriente del 7806 que también se puede utilizar. El sensor es un NTC o un termistor de 20 a 50 k de resistencia. Se puede cambiar R4 por un potenciómetro de 100 k para facilitar el ajuste y hasta utilizar otros tipos de termistores. Se debe utilizar un NTC de baja capacidad térmica.
Monitor de Temperatura de la Piel (CIR1082S)
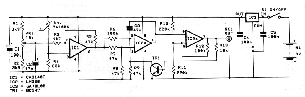
En un artículo sobre biofeedback la revista Practical Electronics de mayo de 1987 describe este circuito que, a través de un termistor monitorea variaciones de la temperatura de la piel. Este circuito convierte pequeñas variaciones de la temperatura de la piel en variaciones de frecuencia o tono de la señal generada por el oscilador y aplicada a un pequeño amplificador externo o incluso transductor. El circuito se alimenta con una batería de 9 V o una fuente. El regulador de voltaje IC2 es un 78L06 la versión de baja corriente del 7806 que también se puede utilizar. El sensor es un NTC o un termistor de 20 a 50 k de resistencia. Se puede cambiar R4 por un potenciómetro de 100 k para facilitar el ajuste y hasta utilizar otros tipos de termistores. Se debe utilizar un NTC de baja capacidad térmica.




