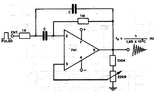
Un pulso aplicado a la entrada de este circuito hace que se genere una señal sinusoidal amortiguada cuya frecuencia depende básicamente del capacitor utilizado conforme fórmula dada en el diagrama. El factor de amortiguación se encuentra en el ajuste del trimpot de 220 k ohm. La alimentación debe ser de 5 a 12 V simétrica. Ver en la Sección de circuitos simulados este circuito en operación y en la sección de matemáticas para la electrónica, más fórmulas para el cálculo de los componentes. Recordamos que las oscilaciones son amortiguadas como las producidas por instrumentos de percusión. Podemos utilizar varios circuitos como este para hacer una tambor controlado por Arduino o un generador de ritmos musicales con el tambor, bongos, bloques, triángulo, campana, etc., simplemente cambiando C.




