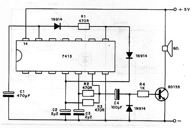
Este oscilador genera dos tonos alternados, que se juegan en un altavoz con una etapa de potencia. El circuito es alimentado por 5 V y los dos tonos son determinados por C2 y C3. El parpadeo es dado por C1. Todos estos componentes se pueden cambiar, dependiendo de la aplicación deseada. El transistor con el altavoz puede ser alimentado por una fuente independiente de tensión más alta para mayor potencia de salida. En este caso, el transistor debe montarse en un disipador de calor pequeño. La salida del microcontrolador utilizado en el control es de 5 V y el pin utilizado en el control es el 12.




