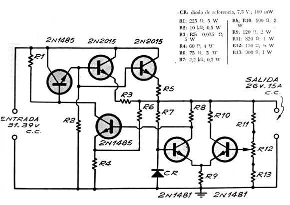
Este circuito fue obtenido en una publicación argentina de 1976. Se trata de un regulador de tensión serie con 2% de regulación. El transistor 2N2015 no es fácil de obtener, pero se pueden utilizar tipos equivalentes de alta corriente. Este transistor debe estar dotado de un excelente disipador de calor. El circuito debe tener un diseño adecuado para las altas corrientes con las que debe trabajar.




