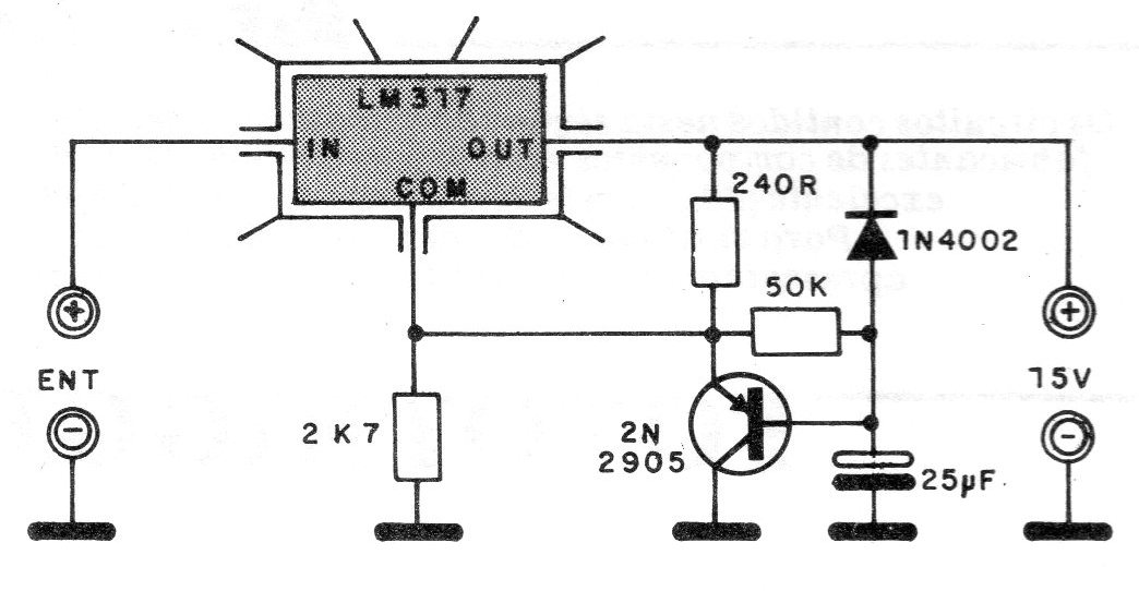
Este circuito no se establece inmediatamente después de la conexión, la tensión de 15 V en la carga. La tensión sube lentamente hasta los 15V, tiempo dado por el capacitor de 25 (22) uF. El integrado LM317 puede operar con tensiones de salida entre 1,2 y 37 V y proporciona una corriente máxima de salida de 1,5 A. El transistor 2N2905 puede ser sustituido por un PNP de uso general con corriente de colector del orden de 500 mA .




