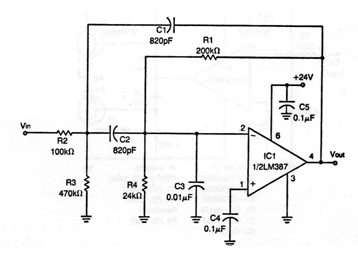
Este filtro utiliza un circuito integrado poco común en nuestros días, pero puede implementarse con operaciones equivalentes. El circuito deja pasar una frecuencia de 20 kHz con un ancho de banda de aproximadamente 2 kHz. El circuito debe ser alimentado con 24 V para el circuito integrado usado y su consumo es bajo. Otras frecuencias se pueden obtener con el cambio de C1 y C2. En la sección de matemáticas del sitio del autor se pueden obtener las fórmulas para el cálculo del filtro para otras frecuencias.




